返回首页
中文版
ENGLISH
关于嘉诺
公司概况
企业文化
企业荣誉
新闻资讯
公司新闻
行业动态
嘉诺研发
技术资料
产业应用
产品与材料
产品展示
材料展示
产品视频
人力资源
人才理念
招聘职位
公司相册
公司环境
员工风采
联系我们
营销网络
联系我们
您当前的位置:
山东嘉诺电子有限公司磁芯生产厂家
>
转换用栏目
栏目导航
转换用栏目
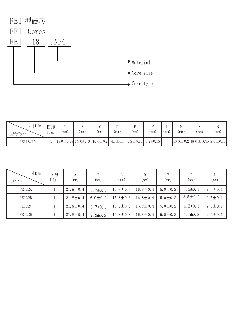
FEI型磁芯
上一篇:EI型磁芯
下一篇:ET型磁芯
山东嘉诺电子科技有限公司 版权所有 地址:山东省滕州市经济开发区郭河路689号 技术支持:
美橙网络
备案号:
鲁ICP备14004497号-1
腾讯微博
新浪微博
微信公众平台